美国五大联盟薪资:大谷翔平7000万!梅西2040万、塔图姆6280万
谁将夺冠?F1官方晒22位车手大合影,新赛季两周后揭幕
米兰冬奥会“规模最大、最活跃的志愿者群体之一”来自中国
外国记者提问谷爱凌丢掉两金,谷爱凌回击:我觉得这种说法很荒谬
冬奥多项雪上赛事改期:苏翊鸣坡面障碍决赛提前至北京时间18:20
直播吧×咪咕冬奥会中国健儿每日风采:中国男团夺速滑追逐铜牌

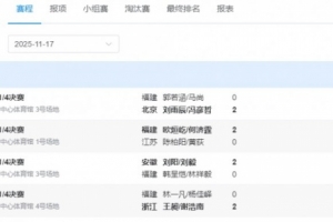
体育资讯11月17日讯 全运会羽毛球男双四分之一决赛全部结束,刘雨辰/冯彦哲、刘阳/刘毅、欧烜屹/何济霆、王昶/谢浩南四队选手挺进四强。
男双半决赛对阵情况如下:
刘雨辰/冯彦哲 VS 刘阳/刘毅
欧烜屹/何济霆 VS 王昶/谢浩南
男双四分之一决赛比分详情:
刘雨辰/冯彦哲2-0郭若涵/马尚
欧烜屹/何济霆2-0陈柏阳/黄荻
刘阳/刘毅2-0刘阳/刘毅
王昶/谢浩南2-0林一凡/杨佳峄